公開信息顯示,山東莒州水泥有限公司始建于1958年,是中國建材五百強企業、中國民營建材企業50強。是一家水泥熟料、通用硅酸鹽水泥生產和銷售為一體的現代化水泥企業,年生產能力800萬噸。
該企業采用新型干法窯外預分解工藝,主要設備包括集散式DCS中央控制系統、輥壓機原料終粉磨輥壓機系統、φ4.8×72m回轉窯、雙系列五級旋風預熱器和TTF三噴騰分解爐組成的燒成系統、第四代穩流行進式冷卻機等,同時配套10MW純低溫余熱發電機等。



從股權結構來看,該企業由趙見福、田中富、于鳳廷三人分別持股,其中趙見福持股40%或為實際控制人。

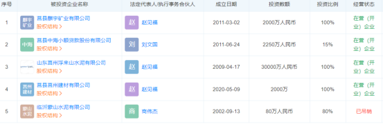
企業對外投資五家企業,其中莒縣麒宇礦業有限公司、莒縣中海小額貸款股份有限公司、山東莒州浮來山水泥有限公司、莒縣建材有限公司四家尚在正常營業。企業對莒縣麒宇礦業有限公司、山東莒州浮來山水泥有限公司、莒縣建材有限公司為100%控股,莒縣中海小額貸款股份有限公司持股15%。


相關分析顯示,該企業注冊資本為50000萬人民幣,屬于批發業。從注冊資本分析,屬于超大型企業,在全國范圍內超過99%的同行。
山東省市場監督管理局生產許可證數據顯示,山東莒州水泥有限公司生產許可證編號(魯)XK08-001-01566,生產許可證有效期至2023年5月28日 。生產許可證產品明細顯示企業擁有一條5000t/d熟料生產線和3條粉磨生產線。

企業排污許可證副本內容顯示,企業無組織排放控制要求涉及礦山開采和熟料生產。2018年開始,山東莒州水泥有限公司協同日照磐鈺環保科技有限公司處置固體廢物項目已批復運行。

這已經是山東省內近期第二家有意賣廠的全能水泥企業了。提及賣廠,山東省內一水泥企業負責人對水泥人網表示:“這兩年水泥行業真是太慘了。成本持續上漲,入不敷出不說,各區域市場競爭也比前幾年更激烈,說好的區域保護已經完全失效。不僅河北、河南、江蘇、安徽、浙江、黑龍江、吉林、遼寧、內蒙古的水泥、熟料毫不費力地進入山東。就連越南、印尼、日本等國外的水泥、熟料也是長驅直入,本土企業雙拳難敵多手。”
按照山東省此前對水泥行業所有熟料生產線常態化錯峰的要求,“十四五”期間,山東省水泥熟料生產線每年錯峰停窯不少于160天。疊加秋冬重污染天氣應急減排停產和重大活動停產,全年停產或達到200天以上。一年有一半的時間處于停限產狀態。就連水泥窯協同處置生產線,環保評級A類企業也不能豁免。
“盡管如此,水泥銷量也比以往年份差很多,絕大多數企業處于庫滿狀態,區域內主要品牌企業已經協商提前啟動夏季錯峰,自5月21日起停產20天。”山東省一家品牌企業銷售負責人對水泥人網表示。
不得不提的是,政策端安全、環保、能耗、技術、質量等各方面要求逐年加嚴,達不到要求的企業被列入淘汰名單。山東省今年已經連續兩輪公布退出企業名單了,山東莒州水泥有限公司蘭官莊分公司的2臺φ3.0*11m水泥磨機,產能為70萬噸/年也在其中。

來源:山東省發改委《山東省3.2m及以下水泥粉磨裝置清單(第二批)》
據水泥人網了解,山東省內擁有直徑3.2及以下水泥磨機、2500t/d及以下熟料生產線企業多有意退出。就連莒州水泥、蒙陰廣匯這樣擁有礦山、熟料、粉磨、協同處置一體的全能工廠也要賣廠,更何況那些無依無靠的單體企業。


